Mapps Panel、リサーチ1個(配信無し)、Excel等の計算ツールを使用することで、都道府県別に回収予測を確認することが可能です。
下記3つの手順が必要です。
▼リサーチについて
目的:都道府県別の実存在数を確認するため
※配信がないため、費用は発生しません
- リサーチ新規作成から、「モニタプラス_本調査」でリサーチを作成します
- 回収状況と打切設定にいき、「モニタ属性」をクリックします

- 「条件ファイル」をクリックし、添付ファイルをアップロードします
┗添付ファイル_回収状況と打切設定_都道府県別の条件ファイル.xls(47都道府県別に打切数が300,000で設定されています)
- MYリサーチ一覧にいき、作成したリサーチの配信設定を追加します

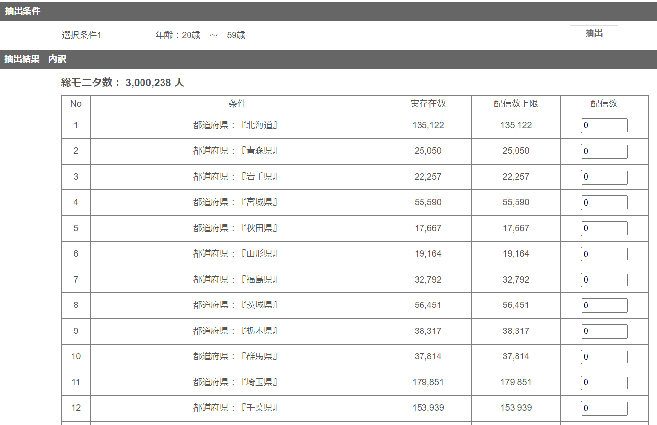
- 配信1の「モニタ設定_新規でモニタを検索」をクリックし、実存在数を確認するために年齢のような大まかな区分で抽出します

↓↓↓
- 抽出された実存在数をコピーし、Excel等の計算ツールに貼付し控えます
★回収したい性年代別のカラムを作成しておきます
▼Mapps Panelについて
目的:回答率を確認するため
- リサーチの配信設定時に抽出した条件と同様の条件で抽出します
例)
リサーチの配信設定の条件:20~59歳
Mapps panelの条件 :20~59歳 - 抽出後表示される回答率をコピーし、Excel等の計算ツールにペーストし控えます
★「回収試算ダウンロード」をクリックすることで、回答率含めたデータのダウンロードが可能です
▼Excel等の計算ツールについて
目的:最大の回収予測を確認するため
- Mapps Panelで算出された回答率は%表記をするために×100された数のため、÷100をします
Excel計算例)
回答率1.4%の場合:「=1.4/100」のような計算式を設定します
- 先ほど作成した都道府県×性年代別の表で、「実存在数×性年代別の回答率」を計算していきます

- 1行作成が完了したら範囲選択し、右下にある「■」をダブルクリックします
ダブルクリック後、全ての都道府県に性年代別の最大回収数が自動で算出されます
↓↓↓「■」をダブルクリック
# mappspanel パネル モニタ 検索 都道府県 年代 回収試算 予測